TECHNOLOGIES
Mastering the Art of Precision Cooling
Discover how we deliver accurate and efficient deep cooling by using best-in-class control and thermal isolation.

Electronic Design and Control
We specialize in designing drivers tailored for high-power, efficient Peltier stacks. We are also experienced in developing embedded control systems with precise temperature sensing and robust control capabilities.
Our solutions ensure reliable and efficient thermal management in compact devices. Our expertise also extends to integrate our circuitry into portable electronic products. Talk to us!
Using Control Optimization
The complexity of cooling systems makes it tough to create the perfect cooling setup, especially for multi stack systems. Coolers are often used differently than planned, and changing conditions can mess up even the best designs.
Our Solution
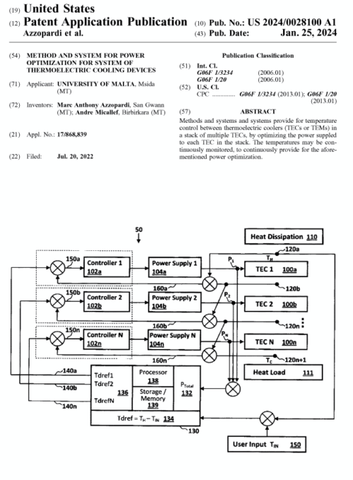
ICECAP overcomes this challenge by using an optimiser that dynamically adjusts the temperature difference across multiple TECs in a stack. This method optimizes power distribution, resulting in better overall efficiency.
We already have intellectual property in this domain, with the following patents filed US20240028100A1, WO2024018287A1, titled “Method and system for power optimization for system of thermoelectric cooling devices”

Thermal Isolation and Dissipation
The ICECAP team specializes in thermal isolation and dissipation techniques, particularly in electronics. We design custom Peltier stacks, heatsinks, and vacuum chambers to achieve top-notch thermal isolation for deep cooling in your products.
Let’s collaborate to take your cooling solutions to the next level! Talk to us!
Using thermal guard rings
Cascading multiple TECs increases the thermal load due to cumulative energy transfer. While convection and radiation leakage can easily be mitigated, conduction—particularly through PCB traces—remains a significant challenge.
Our Solution
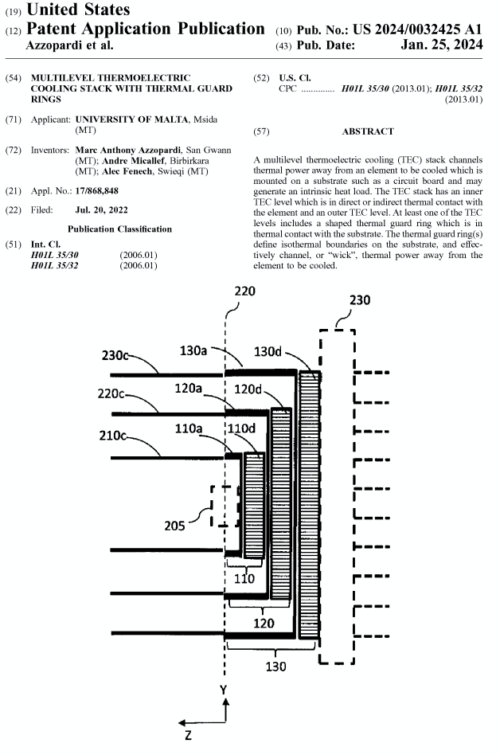
ICECAP overcomes this challenge by using innovative thermal ring assembly that lower the heat load on the inner TECs. This method boosts performance by efficiently removing heat that would otherwise multiply across each stage.
We also have intellectual property in this domain, with the following patents filed US20240032425A1, WO2024018288A1, titled “Multilevel thermoelectric cooling stack with thermal guard rings”

